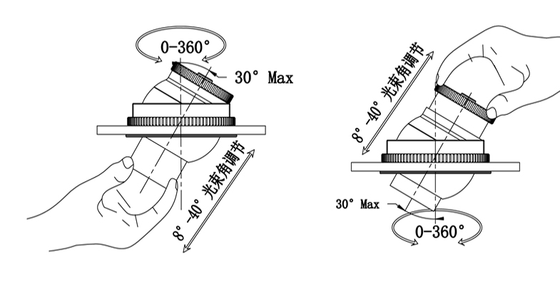
WAC 领先的 SUBROSA 防眩技术,搭配精准的可调焦配光设计,可非常方便的根据展览品的特点进行光斑的调整。根据不同展柜或应用场景,创造性的采用了专利结构设计,可同时支持从前面或从后面进行调焦操作(一灯两用)。
创造性的采用了专利结构设计,可同时支持从前面或从后面进行调焦操作(一灯两用)
Model | LED | Drive | Beam | CRI | CCT | Finish |
SLIR7F LEDme II | LD LED 1W | M MTB driver N Single wire | F 8°~ 40° | 9 Ra90 A Ra97 | 30 3000K 40 4000K | BK Black |
示例:SLIR7FLD-N-F930BK
| 型号 | 光源功率(W) | 开孔尺寸(mm) | 输入电压/电流 | 色温(K) | 显色指数 | 光束角 | 表面颜色 |
|---|---|---|---|---|---|---|---|
| SLIR7FLD-M-F930BK | 1W | Ø29 | 恒流350mA | 3000 | Ra 90 | 8-40° | 黑色 |
| SLIR7FLD-M-F940BK | 1W | Ø29 | 恒流350mA | 4000 | Ra 90 | 8-40° | 黑色 |
| SLIR7FLD-M-FA30BK | 1W | Ø29 | 恒流350mA | 3000 | Ra 97(Ra≥95) | 8-40° | 黑色 |
| SLIR7FLD-M-FA40BK | 1W | Ø29 | 恒流350mA | 4000 | Ra 97(Ra≥95) | 8-40° | 黑色 |
| SLIR7FLD-N-F930BK | 1W | Ø29 | 恒流350mA | 3000 | Ra 90 | 8-40° | 黑色 |
| SLIR7FLD-N-F940BK | 1W | Ø29 | 恒流350mA | 4000 | Ra 90 | 8-40° | 黑色 |
| SLIR7FLD-N-FA30BK | 1W | Ø29 | 恒流350mA | 3000 | Ra 97(Ra≥95) | 8-40° | 黑色 |
| SLIR7FLD-N-FA40BK | 1W | Ø29 | 恒流350mA | 4000 | Ra 97(Ra≥95) | 8-40° | 黑色 |